Punktschweißen

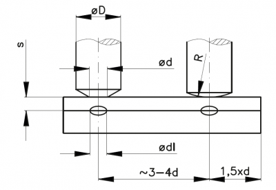
Richtwerte für Punktschweißen mit Stahlblech mit max. 0,28 % C

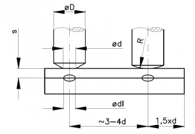
Richtwerte für Punktschweißen mit galvanisch verzinktem Stahlblech

Richtwerte für Punktschweißen mit Chrom-Nickel Stahlblech

Richtwerte für Punktschweißen mit Aluminiumblech

Punktschweißen und unsere Punktschweißmaschinen
Grundsätzlich dienen unsere Punktschweißmaschinen zum Verbinden von elektrisch leitfähigen Werkstoffen. Je nach Anforderung entspricht der Grundaufbau den Ausführungen der 50Hz-Widerstandsschweißanlage, der Mittel-Frequenz-Widerstandsschweißanlage oder der Kondensatorentladungs-Schweißanlage (KES).
Bei dem Verfahren des Punktschweißens werden die Komponenten von der Punktschweißmaschine zwischen zwei Elektroden zusammengepresst. In der Verbindungsstelle besteht ein elektrischer Widerstand. In dieser Fügestelle wird ein großer Wärmeeintrag erzeugt und somit das Werkstückmaterial zum Schmelzen gebracht. Durch die Krafteinwirkung der Schweißzylinder werden die Diffusionseffekte am Wirkort der Schweißstelle deutlich vergrößert und ein dynamischer Nachdrück-Vorgang sichergestellt.
Die Zens Punktschweißmaschinen besitzen einen multifunktionalen und modularen Aufbau. Dieser ermöglicht es, flexibel auf verschiedenste Kundenanforderungen zu reagieren und bietet daher viele Vorteile gegenüber konventionellen starren Anlagen. Da jede Schweißposition i. Allg. mit jeweils einem Schweißzylinder ausgerüstet werden muss, hat die Multifunktions-Punktschweißmaschine einen Aufnahmesupport für mehrere Schweißzylinder. Hierdurch wird ermöglicht, die Anzahl der Schweißzylinder flexibel zu variieren.
Die Schweißzylinder der Punktschweißmaschine sind entsprechend nach den Anforderungen in unterschiedlichen Kraftgrößen und Abmessungen verfügbar. Die aus Messing gefräste T-Nuten-Platte (Aufnahmetisch, Aufnahmeplatte) ermöglicht es, verschiedene Schweißvorrichtungen schnell und einfach auf der Punktschweißmaschine zu rüsten. Eine manuelle Höhenverstellung ermöglicht es, die Aufnahmeplatte schnell auf die geforderte Einbauhöhe für neue Produkte anzupassen. Je nach Anforderung kann die Punktschweißmaschine mit Lichtvorhang, Taster oder Zweihand-Sicherheitsbedienung ausgelegt werden. Zusätzlich ermöglichen verschiedene Anbauoptionen ein individuelles Anpassen auf die jeweiligen Anforderungen.
Blätterkatalog Produktangebot
